welcome大众彩神

超声波风速风向仪

致力于气象传感器和气象环境解决方案

超声波风速风向仪_微气象传感器_微型气象仪_能见度传感器

销售电话:15666889815

气象传感器

产品中心

product center
联系我们
山东万象环境科技有限公司

山东万象环境科技有限公司

销售电话:15666889815

销售QQ:1950883583

公司地址:山东省潍坊高新区新城街道玉清社区光电路155号潍坊高新区光电产业加速器(一期)1号楼301

路面状况传感器

路面状况传感器

welcome大众彩神更新时间:2026-04-22

产品型号:WX-LM1

产品价格:电议

产品品牌:万象环境

路面状况传感器又称路面状况检测器,路面传感器,路面状况传感器是一款非接触式路面状态检测器,采用遥感技术,避免了对道路的破坏,采用多光谱测量技术使得能准确检测道出道路表面结冰、积雪和积水的厚度。

产品详情

一、路面状况传感器产品介绍

   路面状况传感器又称路面状况检测器,路面传感器,路面状况传感器是一款非接触式路面状态检测器,采用遥感技术,避免了对道路的破坏,采用多光谱测量技术使得能准确检测道出道路表面结冰、积雪和积水的厚度。

     路面状况传感器又称路面状况检测器,路面状况传感器采用遥感技术,多光谱测量技术使得能准确检测道出道路表面结冰、积雪和积水的存在状态和厚度,同时还能实时监测影响交通安全的大雾、雨和雪等天气现象。 

  WX-LM1系列非接触式路面状态检测器,它采用遥感技术,避免了对道路的破坏,从而不会因为安装道路气象站引起的对交通的干扰。多光谱测量技术使得能准确检测道出道路表面结冰、积雪和积水的存在状态和厚度,同时还能实时监测影响交通安全的大雾、雨和雪等天气现象。  

二、功能  

  l检测路面积水、积雪、结冰状态  

  l远距离遥感检测路面、桥面状况  

  l非埋入式安装快捷简便  

  l车流量和事故多发区域  

  l雨雪多发区域  

  l维护成本低  

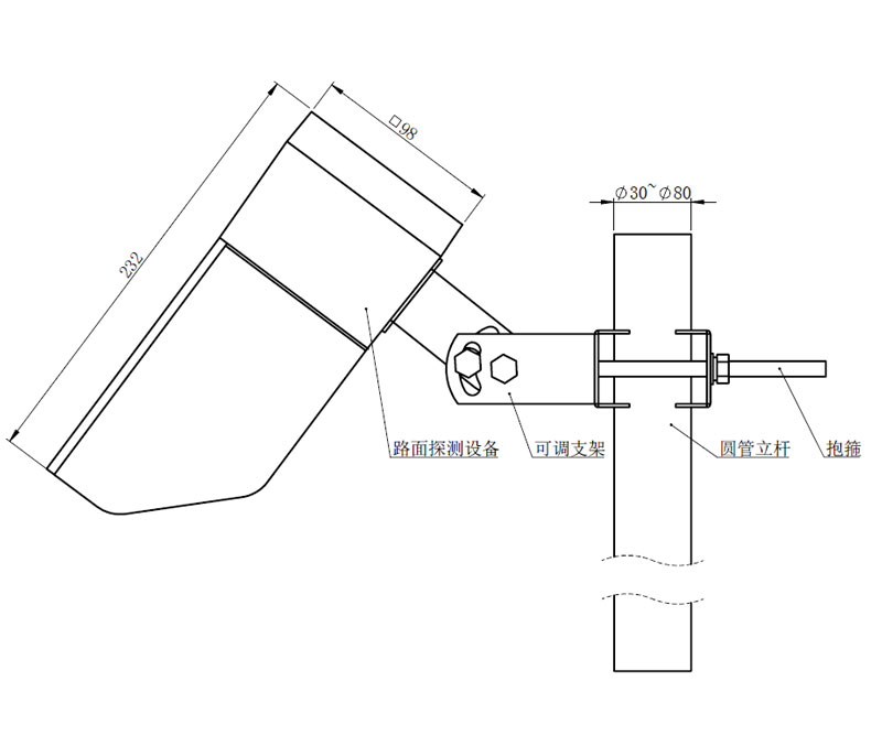
三、产品尺寸图 

路面状况传感器 

四、主要指标  


型号  

welcome大众彩神WX-LM3(停售)  

WX-LM1  

welcome大众彩神检测距离及检测区域直径  

2-8米;23cm  

welcome大众彩神对水平线的安装角度  

30-80度  

welcome大众彩神电源及功耗  

welcome大众彩神DC12-24V;   0.6W  

工作温度和湿度  

welcome大众彩神温度:-40 ºC 至 +60 ºC  ;  湿度:0 至 95%  

积水厚度  

-  

0-10 mm  

覆冰厚度  

-  

welcome大众彩神0-2 mm  

welcome大众彩神积雪厚度  

-  

0-2 mm  

welcome大众彩神湿滑程度  

-  

welcome大众彩神0.01(湿滑)-0.82(摩擦强)  

路面状态报告  

干燥、 潮、 湿、 雪、 冰、 冰水混合  

公路天气现象(选配)  

welcome大众彩神 路面温度: -40 ºC 至 +60 ºC  

welcome大众彩神天气现象:  雨;雪;大雾  

路面材料  

混凝土、沥青路面  

通讯  

welcome大众彩神RS485、RS232  


文章地址:http://xiangyue99.com/lmzk/91.html
2468彩票网 富彩vip登录|首页 U9彩票799cc-u9彩票799绿色-绿色U9彩票旧版-u9彩票799手机版 彩运网888 - 首页 9759彩集团 - 首页 彩运网888 - 首页 新币彩票|登录 98彩票 - 首页